
先河环保披露一季报,公司2026年一季度实现营业收入1.51亿元AI股票配资平台怎么选,同比下降19.91%;归母净利润130.04万元,同比下降88.70%,主要系本期毛利率下降。
举报 第一财经广告合作,请点击这里此内容为第一财经原创,著作权归第一财经所有。未经第一财经书面授权,不得以任何方式加以使用,包括转载、摘编、复制或建立镜像。第一财经保留追究侵权者法律责任的权利。如需获得授权请联系第一财经版权部:banquan@yicai.com 相关阅读

国产光纤全球爆单 部分产品价格暴涨650%
国产光纤全球爆单 部分产品价格暴涨650%
297 04-18 22:53

国家统计局:1—2月份,规上工业原煤产量同比下降0.3%
国家统计局:1—2月份,规上工业原煤产量同比下降0.3%
配资炒股 03-16 10:06

龙虎榜丨机构今日买入这20股,卖出招商轮船9999万元
龙虎榜丨机构今日买入这20股,卖出招商轮船9999万元
29 2025-12-02 18:23

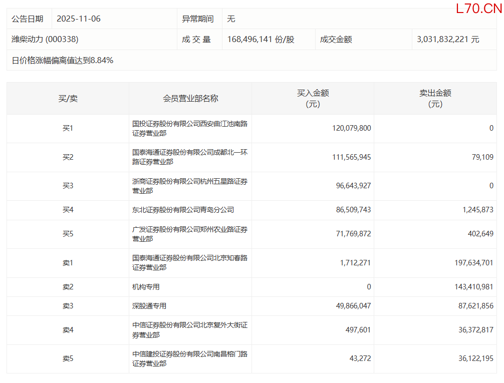
潍柴动力今日涨停,有1家机构专用席位净卖出1.43亿元
潍柴动力今日涨停,有1家机构专用席位净卖出1.43亿元
2025-11-06 16:28

三季报汇总|这家公司第三季度净利同比增超10000%
这些公司今日盘后披露三季报>>AI股票配资平台怎么选
元股证券:ygzq.hk 80 2025-10-23 20:59 一财最热 点击关闭
环宇证券开户|合规系统稳步成长提示:本文来自互联网,不代表本网站观点。